021-51085244
产品参数:
◎ BT40-ER25 双向输出角度头 (AHL 系列)
◎ 同心圆: 0.002 mm
◎ 材质: 合金钢&球状石墨铸铁
◎ 转速.: 最高 6000 RPM
◎ 扭力: 最大 65 Nm
◎ 齿轮比: 1:1
◎ 适用主轴: BT, SK(ISO), CAT
◎ 标准配件: 开口扳手、L型扳手、ER螺帽
◎ 出力轴转向: 正转/反转

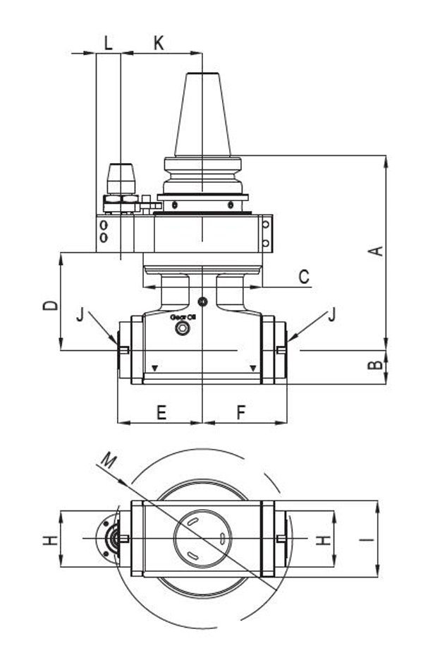
| Model No. | A | B | C | D | E | F | H | I | J | K | L | M | N.W. (KG) |
| AHL-BT40-H1.65/80/110 | 155 | 27.5 | 95 | 77.5 | 67.5 | 67.5 | 45 | 61 | 1~16(ER25 I.N) | 65/80/110 | 20 | 143 | 6.6 |